印刷设计网站优化案例
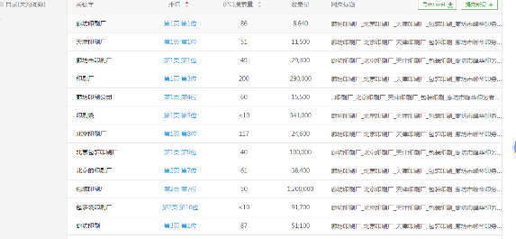
标题:廊坊印刷厂_北京印刷厂_天津印刷厂_包装印刷_廊坊市峰华印务有限公司
关键词:廊坊印刷厂,北京印刷厂,天津印刷厂,包装印刷,印刷,印刷价格,印刷服务,印刷厂
描述:廊坊市峰华印务有限公司拥有廊坊印刷厂,北京印刷厂,天津印刷厂。主营业务包含:画册印刷,宣传册印刷,广告彩页印刷,说明书印刷,手提袋印刷。



印刷设计网站优化案例
印刷设计网站优化案例
标题:廊坊印刷厂_北京印刷厂_天津印刷厂_包装印刷_廊坊市峰华印务有限公司
关键词:廊坊印刷厂,北京印刷厂,天津印刷厂,包装印刷,印刷,印刷价格,印刷服务,印刷厂
描述:廊坊市峰华印务有限公司拥有廊坊印刷厂,北京印刷厂,天津印刷厂。主营业务包含:画册印刷,宣传册印刷,广告彩页印刷,说明书印刷,手提袋印刷。



印刷设计网站优化案例